[www.rhodium.ws] [] [Chemistry Archive]
 
 

New Glassware for Small-Scale Distillation

R.J. Petroski and H.J. Bowe
Synth. Commun. 26(18), 3421�3424 (1996)

HTML by Rhodium

Abstract

Distillation of less than a ml of sample can be accomplished with a jacketed Hickman still. The jacket allows positioning of a coolant such as dry ice/acetone at the site of desired condensation. A jacketed distillation head will accommodate samples up to a volume of 3 ml. Distillate is easily removed with a Pasteur pipette. Details of the glassware design are given.

Short-path simple distillation can be used to separate reaction products from high-boiling (at least 80�C higher) reaction products and polymeric by-products1. Simple distillation of 0.5 ml to 5 ml of liquid can be done using an air-cooled

Hickman Still2,3, a water-cooled distillation head2, or a bulb-to-bulb distillation unit such as the Kugelrohr apparatus2. Only the Kugelrohr apparatus allows facile dry-ice/solvent cooling at the desired site of condensation, but the apparatus is not compact.

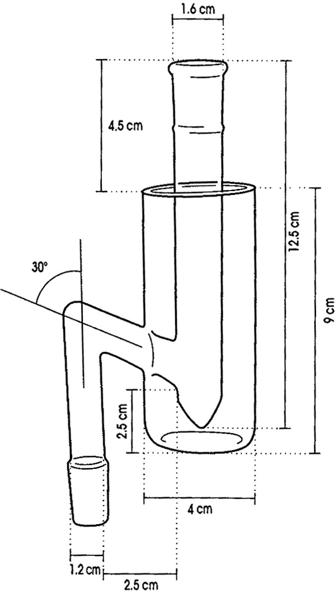
Use of the Hickman still enables good separation of mixture samples smaller than 1.0 ml in volume by distillation; however, the product must condense into the collection area by air-cooling only. Loss of valuable sample could be reduced by placement of a dry-ice/solvent cooling bath at the site of desired distillate collection as shown in the blueprint (Fig. 1). We used 14/20 ground glass joints. For distillation of liquid up to a volume of about 3 ml, we recommend use of a jacketed distillation head as indicated in the blueprint for it (Fig. 2). Again, we used 14/20 ground glass joints.

The new glassware for simple short-path distillation have an advantage of compactness and are easily cleaned after use. The distillate can be easily transferred to a vial with a Pasteur pipet.


References

  1. Keese, R., Miller, R. K., and Toube, T. P. "Fundamentals of Preparative Organic Chemistry," Ellis Horwood Limited, West Sussex, England, 1982, pp. 27.
  2. Furniss, B. S., Hannaford, A. J., Smith, P. W. G., and Tatchell, A. R. "Vogel's Textbook of Practical Organic Chemistry, Fifth Edition," Longman Scientific and Technical, Essex, England, 1989, pp. 190.
  3. Mayo, D. W., Pike, R. M., and Butcher, S. S. "Microscale Organic Laboratory," John Wiley & Sons, New York, 1986, pp. 43-49.